Harley-Davidson Files Patent For Self-Balancing System That Can Be Retro-Fitted To Any Harley Model
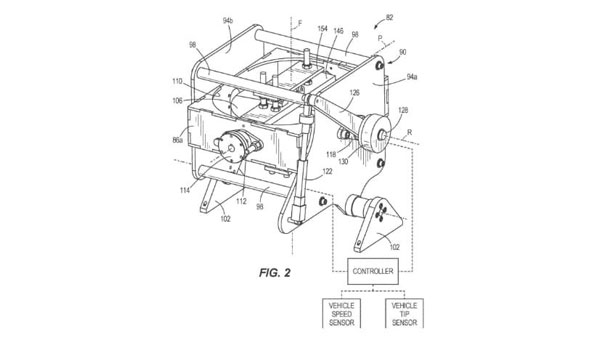
American motorcycle manufacturer Harley-Davidson has filed a new patent for a self-balancing mechanism. Images reveal that the self-balancing system has a high-speed flywheel that is mounted within a gimbal that allows it to rotate on two axes.

The self-balancing mechanism will come into play once the motorcycle is at the lowest speed possible, and is also expected to help the motorcycle be more steady when stationary.

The flywheel is a conventional mechanical gyroscope that is expected to spin at up to 20,000 revolutions per minute by an electric motor, and is most likely to weigh in heavy in order to keep the motorcycle upright.

The gyroscope will act as a balancing aid at low speeds. As the clutch engages, the gimbal's roll axis will lock on to a lever connected to a computer-controlled linear actuator. The computer will calculate and tilt the spinning mass like a pendulum, creating a force that balances the bike.

Tip-over sensors will let the on-board computer know when the motorcycle to lean over to one side, after which the computer, and the linear actuator will work to counter the lean and make the machine more stable.

The new technology is expected to assist new riders while bringing a heavy Harley-Davidson cruiser to a stop. Harley expects that the system will also assist riders in case they lose footing by shifting the gimbal in the opposite direction of a fall.

The company expects the feature to be a hit among first time Harley owners, older riders, and or riders who may not have enough leg strength to hold up a heavy machine, either while coming to a stop or in a situation where the motorcycle is about to topple over. The new tech will also disengage the gyroscope's actuator at higher speeds, allowing the machine bike to lean and balance conventionally.

Images also show that the self-balancing mechanism is not motorcycle specific. Instead of being built into the machine, the unit will be mounted at the top, allowing for it to be removed once a rider is confident of handling the motorcycle. This setup also allows for the unit to be retro-fitted on to any Harley-Davidson model.

Thoughts About The Self-Balancing Patent Filed By Harley-Davidson
This is a fantastic thing to have on a motorcycle, especially one that is as heavy as a Harley. Having a self-balancing unit will definitely attract buyers who generally walk away because of the weight of the machine.


Click it and Unblock the Notifications








