Ford’s New Patent For Motorcycle Filtering Detection Technology
Ford files a new patent for their new technology. This new technology detects motorcycle filtering between lanes.
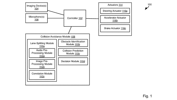
Ford has filed a new patent for a new technology which detects motorcycle filtering. According to the filed patent, the system uses a set of cameras and sensors for detection of motorcycles between lanes.

The system calculates the speed of the motorcycle and automatically stops the car from changing lanes. This technology can be used as a valuable safety feature on future cars.
The technology will use two cameras mounted on the rear corners of the vehicles. These cameras will look out for motorcycles and two-wheelers filtering through traffic.

The technology will use two cameras mounted on the rear corners of the vehicles. These cameras will look out for motorcycles and two-wheelers filtering through traffic.

The system converts video feed into pixel form in the vehicle's onboard electronics. The vehicle then interprets the speed of the motorcycle using the dark pixels at the area of filtering. once a motorcycle is detected, it triggers the auto-pilot system. The automatic auto-pilot system then stops the car from changing lanes.

According to Ford's filed patent, the technology works for both standard and autonomous cars. The patent doesn't mention when the system will actually be implemented.
Also Read:Ford Develops Smart Window Prototype For Blind Passengers

Thoughts On Ford's Patent Motorcycle Filtering Detection System
Filing for a patent doesn't always mean that the technology will develop into a product. However, it will be of interest to see if Ford brings it into production. With the number of two-wheelers, especially in India, the technology will be a valuable safety feature in vehicles.
Image Courtesy: Ford's Filed Patent


Click it and Unblock the Notifications








