Ford Patents Self-Levelling Cup Holders
Ford has patented a new technology, the self-levelling cup holders.
American automaker Ford has patented a new technology to protect the beverages of the driver inside a vehicle. Yes, the blue oval company has patented a self-levelling cup holder.
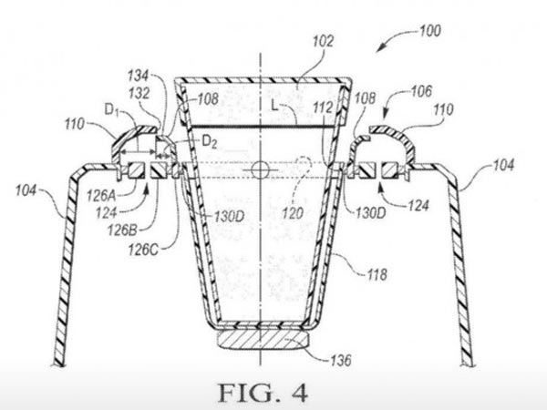
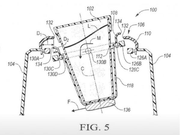
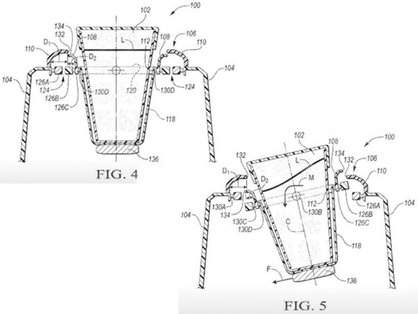
Ford has filed a patent with the U.S. Patent and Trademark Office which shows a conventional cup holder placed at the centre of a gimbal.

The idea is to prevent spillage of beverages when any external force acts on the cup holder. The gimbal will tilt if any forces such as acceleration, braking or turning acts on the cup holder.

The patent images also show a weight at the bottom of the cup holder, which helps the gimbal to make proper corrections. It is not an advanced technology but a simple and effective solution for day-to-day use.
Recommended Video


Apart from that the patent also reveals a lip guard to protect cup holder against any dirt or debris interfering the operation of the gimbal. It also acts as a guard to prevent the gimbal from tilting too far in any direction.

The self-levelling cup holders might sound extreme, but it is one such feature which will make your life easy inside the vehicle. As of now, it's just a patent, and there is no guarantee that it will make it to production.

DriveSpark Thinks!
The self-levelling cup holders are a simple and effective way to prevent the spillage of beverages inside a vehicle. But it may look like too much work for a simple device. But customers these days are looking for such usability options in a vehicle.


Click it and Unblock the Notifications








