Audi Patents Movable Spoiler Wing To Improve Dynamics
The patent filed by Audi will help improve dynamics and reduce the additional drag by lowering at speeds over 80km/h.
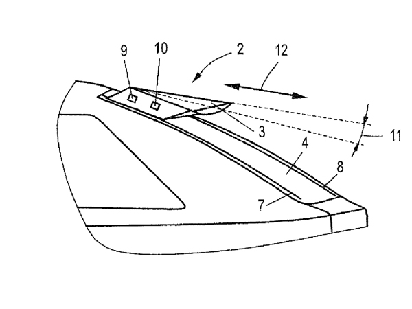
Audi has filed a patent with the United States Patent and Trademark Office (USPTO) for a movable spoiler in an effort to improve dynamics in SUVs.

The new system will help improve dynamics on SUVs which eliminates "flow separation". This is a disturbance in airflow that increases drag which usually takes place half way down the rear window.

Audi is looking to address this issue by designing a movable spoiler which will lower at speeds over 80km/h to the right height to fight the added drag.

The movable or the active spoiler aren't new to automobiles, this design by Audi is a new implementation of using two tracks on either side of the rear window to assist the spoiler move up and down.

Also, the system is meant to improve aerodynamics and help reduce drag unlike other systems, which activates a spoiler at high speeds for added downforce.

The spoiler in cars are designed by car manufacturers for improve dynamics and help reduce drag. Some of the sports cars use the design on the boot lid or at the top of the rear window to provide additional downforce at high speeds to keep the car on the ground.

Audi's new design will address the issue with production SUVs which do not have a boot lid seen in sedans, coupe, or sports cars.


Click it and Unblock the Notifications








