Honda Electric Commuter Bike Patent Leaked - Is This The Honda Shine e?
Japanese automotive giant Honda has filed patent drawings for a new electric commuter motorcycle. The new electric motorcycle, which could be an EV version of the Honda Shine (dubbed the Honda Shine e), focuses on mechanical simplicity and low production cost, indicating the brand is exploring an affordable battery-powered alternative to entry-level petrol motorcycles in price-sensitive markets like India.
Details about the patent were first highlighted in a report by Australian Motorcycle News show a stripped-back commuter layout that avoids complex electronics and premium components, instead using basic cycle parts and a straightforward electric drivetrain aimed at everyday practicality and easy servicing.

The patent images depict a conventional tubular steel frame similar to existing small-capacity commuter motorcycles, with proportions and ergonomics that resemble a standard 100-125cc class bike rather than a purpose-built high-performance electric platform.
In place of an internal combustion engine, the electric commuter motorcycle houses a compact electric motor mounted low in the frame, with power delivered through a simple final drive arrangement intended to minimise parts count and reduce manufacturing and maintenance costs.

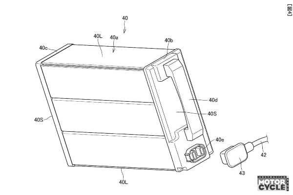
Energy storage is handled by two removable battery packs positioned on either side of the central frame spine, roughly where a fuel tank and engine would normally sit, allowing riders to lift the units out individually for off-bike charging.
A lockable cover above the battery compartment secures the packs in place, and the latch mechanism appears deliberately manual rather than electronic, indicating Honda's intent to keep the system durable and inexpensive while reducing dependency on additional hardware.

The charging method shown in the drawings uses basic plug-in leads connected directly to the removable batteries, suggesting that home or indoor charging will be prioritised over fixed on-board fast-charging equipment that would otherwise increase complexity and cost.
Cycle parts are equally simple, including dual rear shock absorbers, a conventional telescopic front fork and what appears to be a drum brake setup in at least one patent view, all components commonly used on entry-level commuter motorcycles.

Instrumentation also follows the same approach, with a small display and minimal switchgear rather than a large digital console, reinforcing the commuter-focused intent and keeping electrical load and replacement expenses low for long-term ownership.
The overall packaging and silhouette indicate that Honda could adapt an existing petrol commuter chassis for electrification rather than developing a new platform from scratch, allowing shared tooling, local production and quicker scalability in markets like India. And if reports are to be believed, the new Honda electric commuter is expected to bear the Honda Shine e nameplate when it hits the showrooms.
While the patent does not confirm production plans or launch timing, the level of engineering detail suggests Honda is actively studying a mass-market electric motorcycle positioned below its current EV offerings, targeting riders who prioritise affordability, durability and daily usability, especially here in India. It also shows that Honda is not quite ready to give up on its swappable battery pack idea, though this time it looks to be allowing for charging as well.


Click it and Unblock the Notifications








