BMW Motorrad’s Hybrid Boxer Engine In The Making; Expect A BMW R 1250 GS Hybrid Someday
BMW Motorrad Hybrid Boxer Engine: Hybrid BMW motorcycles in the works. Patents for new BMW hybrid boxer engines filed in Germany.
BMW Motorrad is reportedly working on an all-new hybrid boxer engine. BMW boxer engines are quite famous in the global motorcycling community for their unique characteristics and unparalleled motorsport heritage. One of the most popular and iconic boxer models in the German motorcycle manufacturer's portfolio is the BMW R 1250 GS (R 1200 GS, previously).
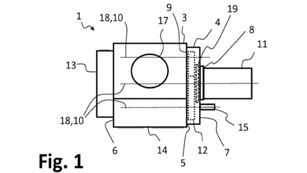
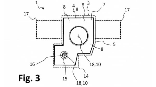
Now, patent images of what is supposedly an electrified BMW boxer engine (regular petrol-powered boxer unit coupled to an electric motor) have been leaked online.

NDTV CarAndBike states that the patent was originally filed in Germany back in 2017, but was published only recently. At this point, not much is known about the new engines - whether it will indeed make its way to production or is just a working prototype for future projects.

From the images, it is evident that the ICE (Internal Combustion Engine) power plant is connected to the electric source via an adapter. In a conventional manner, a clutch and transmission unit follow it. From the looks of it, the motor can also act as a generator.
The adapter is modular; meaning that it can be connected to a range of engines and electric motors. In other words, the patent images could hint to various new BMW Motorrad models across multiple segments. In a business point of view, this will bring down manufacturing costs as well.

As mentioned before, BMW Motorrad is popular for its boxer engines. In India, the company sells five boxer models: R 1250 GS, R Nine T, R 1200 RT, R 1200 R and R 1200 RS. Among the five, the BMW R 1250 GS or 1200 GS is easily the most popular offering.

Boxer engines are different than a conventional motorcycle engine by the way the cylinders are arranged. While most multi-cylinder motorcycles have their pistons moving in a near vertical path (arranged longitudinally or transversely with respect to each other), boxer engines follow a 'horizontally-opposed' piston movement. Boxer engines are usually twin-cylinder units.

Thoughts On The New BMW Motorrad Hybrid Engine
BMW Motorrad fans across the globe are left confused as to what these patent images could mean. The global automotive world is heading towards an all-electric future and introducing hybrids are one of the best ways to ensure a smooth shift. Do you wish to see a hybrid BMW motorcycle in the not-too-distant future? Let us know in the comment section below.


Click it and Unblock the Notifications








